-
Darželiui
- Baldų komplektai ir jų dalys grupėms
- Asmeninės erdvės kampeliai
- Miegamasis
- Baldai žaidimams
- Spintos su aplikacijomis
- Žaidimų kampeliai
- Skaitymo kampeliai
- Bibliotekėlės
- Drabužinės
- Higienos kambarys
- Iliuzijų kambarys
- Kėdutės ir staliukai
- Lentynos ir komodos grupėms
- Akustiniai sprendimai ir širmos
- Veiklos ir žaidimų stalai patalpose
- Platformos
- Spintelės suoliukai
- Daugiau
Žaidimų namukas 0102
5,152.00€
Turime
Produkto kodas:
0102
Kategorijos: Lauko žaidimų įranga, Pavėsinės ir namukai
Aprašymas
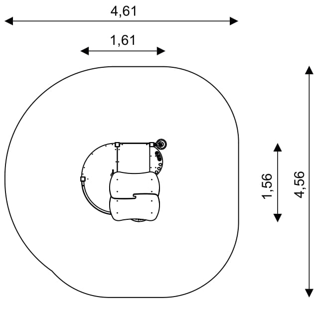
Saugos zona 17,97 m2
Ilgis 1,61 m
Plotis 1,56 m
Bendras aukštis 1,69 m
Laisvo kritimo aukštis <0,60 m
Amžius nuo 1 metų
Atitinka EN standartą 1176
Specifikacijos
• Nerūdijantis plienas arba cinkuotas ir milteliniu būdu dengtas plienas;
• Plokštės ir stogai yra pagaminti iš atmosferos sąlygomis atsparių HDPE arba HPL plokščių;
• Kvadratinė platforma yra pagaminta iš neslystančios ir vandeniui atsparios faneros arba HPL plokštės;
• Visi varžtai, padengti plastikiniais dangteliais;
• Nėra aštrių briaunų, kurie gali sukelti galvos, pirštų ar kitų kūno dalių užstrigimo pavojų;
Papildoma informacija
| Išmatavimai | 970 × 960 × 1390 cm |
|---|
