-
Darželiui
- Baldų komplektai ir jų dalys grupėms
- Asmeninės erdvės kampeliai
- Miegamasis
- Baldai žaidimams
- Spintos su aplikacijomis
- Žaidimų kampeliai
- Skaitymo kampeliai
- Bibliotekėlės
- Drabužinės
- Higienos kambarys
- Iliuzijų kambarys
- Kėdutės ir staliukai
- Lentynos ir komodos grupėms
- Akustiniai sprendimai ir širmos
- Veiklos ir žaidimų stalai patalpose
- Platformos
- Spintelės suoliukai
- Daugiau
Nerūdijančio plieno kompleksinė aikštelė su atvira čiuožykla 0300S1
17,586.00€
Turime
Produkto kodas:
0300S1
Kategorijos: Kompleksinės žaidimų aikštelės parkams ir viešosioms erdvėms, Lauko žaidimų įranga
Aprašymas
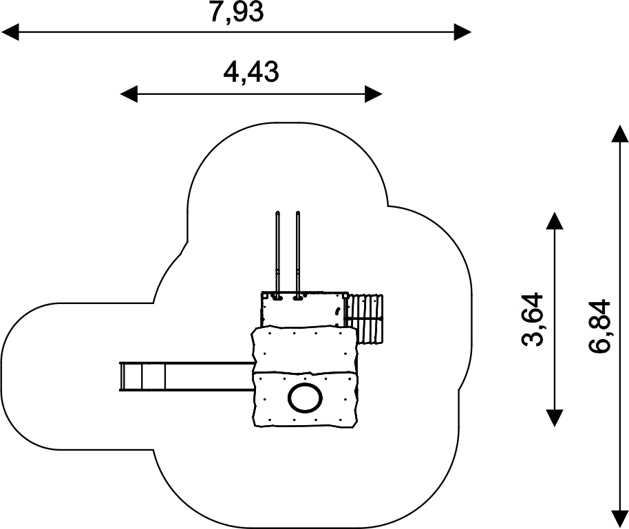
Saugos zona 36,00 m2
Ilgis 4,43 m
Plotis 3,64 m
Bendras aukštis 3,45 m
Laisvo kritimo aukštis 1,80 m
Amžius nuo 5 metų
Atitinka EN standartą 1176
• 80 x 80 mm nerūdijančio plieno konstrukcija;
• Plokštės ir stogai pagaminti iš atmosferos sąlygoms atsparių HPL plokščių;
• HPL platformos ir laipiojimo sienos;
• Visi varžtai uždengti plastikiniais dangteliais;
• Jokių aštrių briaunų galinčių sukelti galvos, pirštų ar kitų kūno dalių užstrigimą;
• Plieniniai lynai, pinti su PP, sujungiami patvariais plastikiniais elementais;
• Konstrukcijos viršus tvirtinamas guminiais dangteliais;
• Nerūdijančio plieno vamzdiniai laipteliai;
• Kiti nerūdijančio plieno elementai.
